Dixell Prime CX Series Digital Thermostat 240v

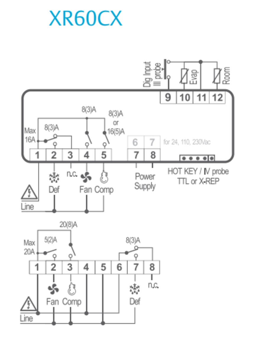
XR60CXB

Product Description

Dixell Prime CX Series

  • The new Dixell Prime series in CX format is an innovative range of products for both heating and L.T, N.T. refrigeration. 
  • The CX family has new functions plus an innovative and attractive design. 
  • The revolutionary introduction of 6 keys allows the user direct access to all main functions rapidly and intuitively, while the display with illuminated icons allows an instant view of the machine's status.
  • All the instruments in CX format incorporate the latest know-how and technology, both in software and hardware to ensure the highest standard of performance

Resources

Dixell CX Prime Catalogue

Dixell CX Prime Catalogue

2.40 MBPDF
Dixell XR60CX Installation Instructions

Dixell XR60CX Installation Instructions

383.85 KBPDF